1. Электроника
  2. Компьютеры
  3. Принтеры и сканеры
  4. Запчасти и аксессуары
  5. Детали
  6. Прочие

Łącznik centralny [8]



#товара: 17968134417


Состояние Новый

Счет-фактура Я выставляю счет-фактуру НДС

Код производителя 09500208

Производитель неизвестный производитель

Количество 34992 штук

  • Количество

  • Проблемы? Сомнения? Вопросы? Задайте вопрос!

    Łącznik centralny [8]

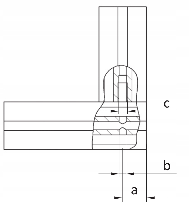
    Łącznik centralny M8 do rowka 8mm, umożliwia trwałe połączenie dwóch profili aluminiowych pod kątem 90°. Przed przystąpieniem do montażu należy wykonać gwint M8 w otworze profilu, do którego zostanie wkręcona śruba wraz założoną blaszką, oraz otwór przelotowy o średnicy 8 mm w rowku drugiego profilu,gdzie znajdzie się łeb śruby wraz z blaszką. Wsuwając klucz przez otwór o średnicy 8mm, dokręcamy śrubę M8. Zintegrowana blaszka łącznika zapobiega obracaniu się profilu po montażu. 

    • Materiał: odlew cynkowy
    • Rowek: 8mm
    • Profil, rowek: 40x40, 8mm
    • Średnica otworu (a): Ø 7mm
    • Odl. otworów (b): 20mm
    • Gwint (c): M8

    Корзина 0